合肥突破宽带巴伦110GHz超宽带幅相匹配技术
分类:新闻中心 发布时间:2024-04-19 2258次浏览
针对高速模/数转换、差分器件测试、光通信系统等多种场景对高性能宽带巴伦的需求,频...
针对高速模/数转换、差分器件测试、光通信系统等多种场景对高性能宽带巴伦的需求,频率上限达67GHz的巴伦产品已不能满足用户的应用。国产思仪突破了巴伦超宽带传输幅度平坦度设计、幅相匹配设计等关键技术,将宽带巴伦工作频率提升至110GHz,可满足用户高速测试的需求。

图1 110GHz宽带巴伦产品
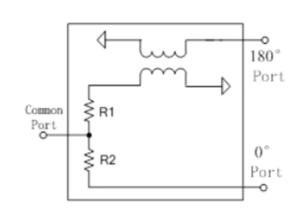
巴伦(Balun)是一种三端口器件,由同轴巴伦和功分电路构成,可以双向工作,用作信号分路器或合路器,实现单端—差分、差分—单端的平衡/不平衡转换,工作原理如图2所示。110GHz宽带巴伦产品典型测试曲线如图3所示,性能优异。
图2 宽带巴伦原理图

(a)公共端回波损耗

(b)幅度平衡

(c)相位平衡
图3 110GHz宽带巴伦产品典型测试曲线
电科思仪的宽带巴伦具有回波损耗好、共模抑制比高、传输幅度平坦度好、幅相匹配优异等特点,可以根据用户需求提供3.5mm、2.92mm、2.4mm、1.85mm、1mm 等不同接口的宽带巴伦产品。产品的部分指标如表1所示。
宽带巴伦系列产品

除宽带巴伦外,我公司还有同轴开关、波导开关、转接器、校准件、测试电缆、微波探针、衰减器、功分器、隔直模块、天线、定向耦合器、定向电桥耦合器等超宽带微波部组件产品,具体产品信息可到官网下载或来电垂询。